PVI

Søjlesko

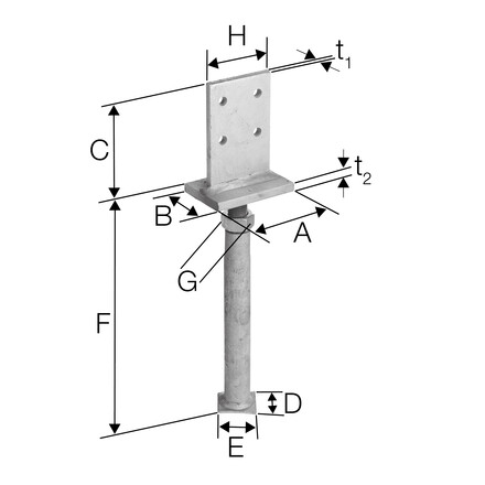
Søjlesko PVI anvendes til understøtning af træsøjler med mindste tværsnit på 60x90 mm og er højdejusterbare. PVI søjleskoenes rør indstøbes min. 200 mm i beton. Da søjleskoene er højdejusterbare vil afstanden fra den vandrette plade til betonoverkanten (her benævnt g) kunne variere, bæreevner er angivet for forskellige afstande af g. 

Production Status
discontinued
CE mærket
Aftalegrundlag
Anvendelsesklasse 3
Varmgalvaniseret stål
Outdoor
EPD
Tilgængelig i Connector Selector

Produktinformationer

Billeder

Egenskaber

Materiale

  • Stålkvalitet:
    Stålplade: S235JR EN10025:2004
    Gevindstænger: S355JO EN10025:2004
  • Korrosion:
    Beslagene varmforzinkes efter bearbejdning iht. EN/ISO1461 med zinklagtykkelse på typisk 55 μm

Fordele

  • Justerbar i højden
  • Søjleskoene kan optage tryk, træk og vandret last

Applikationer

Samlinger

  • Træ-søjle samlinger
  • Søjleskoens rør indstøbes i beton

Anvendelsesområder

  • Anvendes til understøtning af træsøjler i tilfælde, hvor man har behov for de justeringsmuligheder, der er indbygget i beslaget

Discontinued Products

Teknisk data

Dimensioner

Dimensioner

Table "Dimensioner" cannot be displayed : no references available.

Karakteristisk bæreevne

Table "Karakteristisk bæreevne" cannot be displayed : no references available.

** g er afstanden fra overkant af beton til underkant søjle

Installation

Installation

Fastgørelse

  • Søjlens endetræ forsynes med en 9-10 mm bred slids, hvori søjleskoens topplade isættes og fastgøres med 4 stk. M8 varmforzinkede dorne med en længde svarende til træsøjlens bredde

Certificeringer

Ydeevnedeklaration (DoP)

ETA godkendelse (European Technical Assessment)

Downloads

ZIP-pakker

Buy from Distributor

No items available.

Contact

Simpson Strong-Tie Danmark

Simpson Strong-Tie A/S

CVR 65653818
Egeskovvej 33
8700 Horsens
Danmark